找回密码
 立即注册
澳门威尼斯人
U8
U18
海燕招商
A
蓝盾
e世博
islot.
申博亚洲
澳门银河
B
开云
腾博会
德信
C级广告商
吉祥坊
华体会
查看: 122749|回复: 25

[百科] 亚洲足球联合会

[复制链接]

1万

主题

3322

回帖

8388

金币

版主

积分
44186

美女勋章优秀版主老会员版主勋章超级精华

发表于 2024-11-27 09:47 | 显示全部楼层 |阅读模式

马上注册,结交更多好友,享用更多功能,让你轻松玩转社区。

您需要 登录 才可以下载或查看,没有账号?立即注册

×
亚洲足球联合会(英文:Asian Football Confederation,缩写AFC)简称亚足联,于1954年在中国香港成立,首任会长及秘书长由香港人罗文锦及李惠堂担任,1958年总部迁到马来西亚吉隆坡。 [10]创会成员包括阿富汗、缅甸、中国台北、中国香港、印度、印度尼西亚、日本、韩国、巴基斯坦、菲律宾、新加坡及越南。" f. Y: L) t! {* A$ m2 r6 M
, u% p2 A# s( Q0 @  ^+ r
03.png
4 e  N6 j2 ~3 R6 u$ d0 y
0 a5 t5 _: A* r/ U9 x9 u2 z. X. F6 M1 k$ c, r
亚洲足球大致可分为两大势力—东亚及西亚,东亚包括有日本、韩国、澳大利亚、中国、朝鲜及蒙古等(2006年来自大洋洲的澳大利亚加入亚足联),而西亚则有沙特阿拉伯、伊拉克、卡塔尔、巴林及阿联酋等。亚足联共有47个会员协会,其中仅北马里亚纳群岛邦尚未加入国际足联。. k$ t- _0 ]' n9 O
2020年8月12日,国际足联与亚足联共同决定,原定于2020年10月及11月进行的2022世预赛亚洲区暨2023亚洲杯预选赛将推迟至2021年进行。 0 }/ `, \* Z- t) ~$ e0 x  ^

* K/ J: |  r$ g, D2 B  i, N 02.png , m; n: f! X1 e

4 _% I9 {8 D/ m1 t6 o) `  c8 c* F' F. f
组织介绍:
, p3 l+ k. y8 g$ h% F# [亚足联(AFC)是负责管理亚洲地区足球事务的体育组织,举办各项亚洲国家级及俱乐部赛事,包括协助国际足联举行世界杯预选赛。
3 h/ z5 s& E$ _* |* p/ v亚足联每年举办大型的足球赛事,较为人们认识熟悉的有亚洲杯及亚洲冠军联赛,前者是亚洲最高级别的国家队赛事,四年一届始于1956年;后者是亚洲最高级别的俱乐部赛事,2009年改制后的亚冠赛制与欧洲冠军联赛类似,亚俱杯(Asian Champions Cup)及优胜者杯(Asian Cup Winners Cup)并入亚冠。2004年亚足联推出名为“亚洲展望”(Vision Asia)的足球计划,旨在提高亚洲地区足球运动的水平,包括管理及运动科学。计划还包括同等级别的国家安排在同一级别比赛,改革亚冠联赛。将14个实力最强的协会,称为“发达协会”,所属俱乐部可以参加亚冠;随后的14个的协会,称为“发展中协会”,所属俱乐部则可以参加亚足联杯,最后其他足球发展相对落后的国家称为“欠发达协会”,他们的下属俱乐部参加亚足联主席杯。
$ T4 f2 q7 J, Q) d, P( ?9 Y
4 |: o* T: L$ k发展历史:; ?: g1 j3 ]7 L& N
当地时间2023年9月4日,亚洲足球联合会(AFC)确认沙特和伊朗国家队的比赛以及两国足球协会组织的俱乐部比赛都将恢复主客场赛制的形式。两国足协达成了此协议并递交给了亚足联。
7 _6 C- B  P7 y( d0 x
( ]& d4 A2 N8 o7 q
% }  {) T, @, t常委会:; G+ g4 a, \) D  d; x
上诉委员会 竞赛委员会 发展委员会 纪律委员会 财政援助计划委员会 财务委员会' d% A& U# b8 C6 S$ n- a
五人制足球和沙滩足球委员会 内部审计委员会 法律委员会 营销委员会 医务委员会
# T& f+ p8 r% ~亚足联裁判委员会 社会责任委员会 技术委员会 妇女委员会 亚足联亚洲杯组委会
# }1 m, f% Z. F7 [; A. K亚足联主席杯/挑战杯组委会 亚足联青少年赛事组委会 职业足球特设委员会9 b4 w/ }$ r7 T0 a: [: R0 j8 z

5 h8 G; T$ L. g  O% [6 f8 S+ h历任主席:7 h: n7 |6 k- H/ e: r+ j& n) Y
中国香港 罗文锦(1954年)
6 f! F( y. Q" Q* M6 z3 W8 y* n1 z中国香港 郭赞 Kwok Chan(1954-1956年)
7 p% G; a$ W& N2 x中国香港 雷瑞德 William Louey Sui Tak(1956-1957年)+ E; e! \' c1 \0 U% e
中国香港 陈南昌 N.C.Chan(1957-1958年)* P$ m3 b. }7 Y$ \6 O
马来西亚 东姑阿都拉曼(1958-1977年)
+ @4 f" x% ^7 V. R& d$ u* {- h伊朗 卡民彼兹阿达巴依(1977-1978年)(代主席)
3 z3 n/ p* ?- Y5 e* N3 p6 u) z马来西亚 丹斯里罕莎阿卜沙玛(1978-1994年)) _9 b0 L8 N0 x8 z
马来西亚 阿莫莎(1994-2002年)1 H( W: A/ ]* M: Y6 x
卡塔尔 默罕默德·本·哈曼(2002-2011年)$ u, _) r6 t7 \3 l8 _+ W! M$ ~
中国 张吉龙(2011-2013年)(代主席)  M3 U. J4 ]' E
巴林 萨尔曼(2013-): E7 ]6 F- o% @' \* ?
8 C! I2 _5 e9 a! g
所属赛事:" m  q# ?7 O! k; L; G! I( D
2024年5月16日 第34届亚足联代表大会在泰国曼谷举行,亚足联正式揭晓改革后的男子三级俱乐部赛事以及女足亚冠联赛。 [15]
" W# K( J1 j* n5 P' D男子国家队赛事; s" M3 F8 Y2 d  i- z
AFC Asian Cup(亚足联亚洲杯)
$ U5 n) q) \/ e8 q: g0 T6 w( jAFC U23 Asian Cup(亚足联U-23亚洲杯)
5 C/ V/ X0 G5 ~) ^+ gAFC Solidarity Cup(亚足联团结杯)
- o2 k2 e" x: m4 {/ NAFC U20 Asian Cup(亚足联U-20亚洲杯)
7 ^% W* n& g# T: b4 L; {AFC U17 Asian Cup(亚足联U-17亚洲杯)
& a, G& ]. R: W7 J0 {% ~女子国家队赛事+ i( F# l' b! [' o6 u4 D& b
AFC Women’s Asian Cup(亚足联女足亚洲杯)& E0 W' l: O: P; N& E  t" q
AFC U20 Women's Asian Cup(亚足联U-20女足亚洲杯)
$ Z3 e) @8 n4 q# I0 Q; K2 D3 `  cAFC U17 Women's Asian Cup(亚足联U-17女足亚洲杯)2 D: \4 B2 C5 b! W5 q
俱乐部赛事
/ o: D; ?& T+ Y& p( X: }AFC Champions League Elite(亚冠精英联赛)
9 K! ?% p0 t5 q' b0 CAFC Champions League 2(亚冠二级联赛)8 W5 F. X  c# r& o+ \8 i6 I
AFC Challenge League(亚足联挑战联赛): E% f4 i4 e: u5 w
AFC Women's Champions League (亚足联女子冠军联赛)
: d( X- ]9 x/ `5 B/ Q6 ^五人制足球及沙滩足球2 s4 R, x, O1 p- g7 `
AFC Futsal Asian Cup(亚足联五人制足球亚洲杯)
! _6 J8 \) N  eAFC Futsal Club Championship(亚足联五人制足球俱乐部锦标赛)
& }3 Z. P6 u7 _  f5 q: s7 `/ DAFC Women's Futsal Asian Cup(亚足联五人制女子足球亚洲杯)% q% A7 B/ L( P# l5 ~( E
AFC U20 Futsal Asian Cup(亚足联U-20五人制足球亚洲杯)8 L# d) f$ B7 y
AFC Beach Soccer Asian Cup(亚足联沙滩足球亚洲杯)
6 T1 d6 ]1 U* P' O, `5 k9 o
2 P) ?3 g0 {- E地区组织:
! @/ V. E; Y6 [  D亚洲大陆地域广袤,旗下会员划分为5个协会:
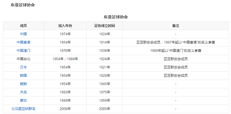
+ l5 B: T) d5 g* L4 G6 I3 o东亚足球协会(East Asian Football Federation) :中国大陆、中国香港、中国澳门、中国台北、韩国、日本、朝鲜、关岛、蒙古和北马里亚纳群岛邦(区域赛事:东亚杯)。! X1 B. y- `1 e1 g  G
东南亚足球协会(ASEAN Football Federation):澳大利亚、缅甸、菲律宾、新加坡、印度尼西亚、马来西亚、越南、柬埔寨、泰国、老挝、文莱和东帝汶(区域赛事:东南亚足球锦标赛)。; D0 A" c# V& v, Q( N
南亚足球协会( South Asian Football Federation):印度、巴基斯坦、孟加拉、不丹、尼泊尔、斯里兰卡和马尔代夫(区域赛事:南亚足球锦标赛)。/ t9 N: B0 E1 G$ Z/ x. h
西亚足球协会(West Asian Football Federation): 沙特阿拉伯、伊拉克、巴林、卡塔尔、科威特、阿联酋、黎巴嫩、约旦、巴勒斯坦、阿曼、叙利亚和也门(区域赛事:西亚足球锦标赛)。0 `7 N3 c8 T  N3 z9 |8 |1 R' b
中亚足球协会(Central Asian Football Federation) :伊朗、乌兹别克斯坦、吉尔吉斯斯坦、塔吉克斯坦、土库曼斯坦和阿富汗。
# }% y* _" t9 g" O  C' D2 k, r  u  }
主要官员:
% Y( v- X' M* x3 X% K亚足联主席/国际足联副主席(1位)
8 y% G, g5 }. U9 H' Q/ P0 L; W萨尔曼(巴林)/ c/ @" S" W1 w
国际足联理事会理事(6位)
' ]& l* V6 ~. ?4 v1 Y杜兆才(中国)
! O& B5 A4 c) `* D6 g6 P田岛幸三(日本)% n6 \' T& |' a1 ?0 L; d/ |* @2 w
穆赫纳迪(卡塔尔)1 q$ H( r& T, F: S6 ?. o
帕特尔(印度)$ L) Z6 k# U" P+ \3 G, }/ ^
马里亚诺(菲律宾)
& _8 e7 G; s9 Y马芙萨(孟加拉国)% Y# O* g2 F5 k8 B' J* Y2 `
亚足联副主席(5位)
2 ^0 H1 ~( ^# _& O' _" F东亚区 冈巴塔(蒙古)
* T* K+ s# y+ a中亚区 塔伊(伊朗)
4 i  b; l8 A" U4 t+ A2 @' Z, h  P南亚区 哈亚特(巴基斯坦)
+ c# U: M' [9 a: m+ A: {! q东南亚区 扎乌扎乌(缅甸)" W8 B0 b; y& Z' \& O
西亚区 穆赫纳迪(卡塔尔)( k6 L  x3 V# x4 \# N7 e
亚足联执委(13位)
$ h. `) E* W+ H6 J0 a阿加扎达(阿富汗)
5 Q) M7 y6 C* N: c. ^克里斯尼库(澳大利亚)9 O; s% Q9 R; ^
大修(不丹)
6 v6 m2 Q2 U4 B7 l2 C韩润(朝鲜), Q/ q$ W5 @0 l) b) Z. b0 t
霍启山(中国香港)
$ ^9 ]9 ]' }, v% t! y: @马苏德艾哈迈德(伊拉克). n/ I4 }/ d( C9 L. Q
基尼(老挝)
( G& S" y2 t: m. s+ e4 W- a% o1 S# a' i莫吉德阿明(马来西亚)+ _( [4 \! c/ `6 [+ Y
瓦海比(阿曼)% p6 F. m3 X8 P6 e2 m: v" s- Q! W: A
米哈德穆罕默德(也门)
+ S3 C2 W5 k! U. ~% J3 J  G海达尔(黎巴嫩)
7 n( g5 n1 l4 y6 u% p  X特兰昆团(越南)$ Z2 l; m: K8 E8 Q7 c7 L6 F
苏珊沙拉比(巴勒斯坦)
! l  L7 V4 l. F' ?亚足联秘书长6 t" s$ @2 [  t, F# N, J  [
温莎·约翰
. p! V( m5 Y. }) u/ D" I- K9 C, f
+ Z1 `1 p1 D8 n协会成员:
' c, r4 n6 q5 F% U
! w( @: Q+ z% j- r( M$ Q 东南亚.png ( G  Q8 ?, l0 x% ~8 h
东亚足协.png 0 Q8 v- g( r; f3 x2 W, g! q
" ]& U- |( K& G7 r! U
南亚.png
" [8 ?& |7 c/ F9 p: M0 Q" @# E% k
3 Q; l& |: F$ W  z/ ?, K! p 西亚.png
+ r$ s6 q9 K$ [- |" G
: s2 K7 X+ W, d3 ^  J6 h& X/ Z( U: A- Q 中亚.png . y5 r3 }$ |2 e1 t& ]

( e1 M' K: Z! ^+ ?8 `8 V3 v/ f, B7 v2 x! D- f

6 v, P7 {2 [5 {1 o主要成绩:5 i- j9 x6 }* @2 }

. W9 R- R% a+ y* ] 成绩.png % X$ D+ C- ?5 h

; a1 d# I% R6 N6 E& m颁奖典礼:
+ m4 ?* r: p0 Z( E3 B$ M" m( Z0 |2013年亚足联年度颁奖典礼,在马来西亚首都吉隆坡举行。中国足球最终收获5项重量级大奖,其中包括郑智的亚洲足球先生。' L; a1 H1 t" }; n8 k9 g! n
国足大丰收
% A! J. t7 t, o" q本届亚足联颁奖礼,一共颁出18项大奖,而中国足球获得了其中多项提名,分别是广州恒大的最佳俱乐部、最佳外援(孔卡和穆里奇)、亚洲足球先生(郑智),中国足协的公平竞赛协会,女足王霜的最佳女子青年球员。除了王霜的奖项旁落之外,其余提名全部拿奖,成功率超高,尤其是压轴的亚洲足球先生奖项由郑智获得,更是让中国球迷兴奋不已。
0 s. p0 F1 |9 A+ B; m5 t$ W恒大队长郑智助中国足球大丰收,他这次的竞争对手包括河大成和内科南两人。中国球员上次拿亚洲足球先生,还是2001年时范志毅的事,虽然中国国家队表现一般,但郑智在恒大的表现却很是加分,尤其是亚冠夺冠。作为亚洲大奖,亚足联把三位候选人都请上了台,并且每人都给了一个小奖杯,但最终宣布时,郑智仍然难掩激动。他感谢了许家印、中国足协,感谢了家人和太太,看得出他也是欣喜万分。. g) n2 x# n! w+ I& z3 @) c+ w
足协获奖# d: C* V" D# k, K2 M
足协击败日韩获公平竞赛奖# ~7 Y; q# ]  x  ]' i0 P1 V
被无数国人批评的中国足协,终于也在亚足联颁奖礼上,迎来了扬眉吐气的机会。在“亚足联公平竞赛协会”奖项中,立志净化足球环境的中国足协和日本足协、韩国足协展开了竞争,并最终成功当选,率先为中国足球“开锅”。  ~, F$ [- d/ T
该奖项是在亚足联颁奖礼的第二个奖项,担任颁奖嘉宾的是亚足联第一副主席、国际足联执委张吉龙,他很开心地说:“我非常荣幸地在这里宣布,获得2013年公平竞赛奖的是中国足协。”代表中国足协领奖的是中国足协副主席李晓华。9 a# Z0 z2 S8 Y" m2 a% [
张吉龙确实很开心,因为这个奖项标志着,中国足球2013年至少会有收获了,而此前的2010、2011、2012三年,中国足球都没有拿到任何一个奖项——尽管2012年中国足球获得了三项提名,不过都是零当选。而此前获奖的2009年,也仅是张玲玲获得2009年亚足联年度最佳助理裁判员奖,跟2013年的集体奖项相比,分量要轻很多。
" e) W( S* q% q7 S" G2 t4 Q再获提名7 a3 t$ Z+ L9 O9 U  U, p9 T$ h
2015年11月26日,亚足联公布“最佳公平竞赛协会”的提名,中国足协榜上有名。
$ E1 O  Y- O( S. b- B$ l获奖名单
% [& q; G8 T8 y: h亚洲足球先生:郑智
9 r, g  n& X+ [1 o% L& G亚足联年度最佳协会:中国足协
, Q' K: o, B2 K3 `% J3 g, u& V& j, m: N亚足联年度最佳俱乐部:广州恒大! w& s1 E/ p! N; t, o9 |* X
亚足联年度最佳外援:穆里奇(巴西)
4 @: @- m: W' h* p- l+ t亚足联年度公平竞赛奖:中国足协
8 z; H4 I* M# ?& _  E# K+ i$ t亚冠名额
9 n2 R* b! r7 I  `( b; [在颁奖礼前,亚足联执委会也召开会议,确定了2014年的亚冠名额分配。中超联赛由于技术评分仅列第6,所以名额只有3+1个,不复2013赛季的4个名额。中超联赛的冠亚军广州恒大和山东鲁能已经确定获得名额。而第三个名额,到底是中超的第三名北京国安拿,还是第四名贵州人和拿,将视足协杯的结果决定:若足协杯恒大或国安夺冠,国安晋级,人和踢附加赛;若人和夺冠,人和直接拿到名额,国安踢附加赛。; \# I; V6 T/ s! D7 m# s* z6 o/ R
2022年2月6日,中国女足从亚足联获得了新增设的100万美元的冠军奖金。7 }" y8 [2 \) w( Y
1 D* z6 C# E* ~9 X' e, {
新赛制:
4 H% D9 e+ F0 r0 Z3 l2014年4月16日下午,在刚刚结束的亚足联执委会会议上,正式通过了世预赛新赛制。2018年俄罗斯世界杯预选赛发生根本性变革,亚洲区最后阶段的10强赛也结束了历史使命,变身为12强赛。同时后半阶段的世预赛与2019年阿联酋亚洲杯预选赛合并,2019年阿联酋亚洲杯参赛队也将由16支增加到24支。 5 }! h5 {3 [1 q4 y) \
在2023年8月14日进行的执委会年度第2次会议上,亚足联确认将从2024-2025赛季开始,推出全新女足亚冠联赛。
$ S9 _4 g8 a& L' D& r  N$ c  F) ]! \1 n

) c" j- j6 N+ b# f% r1 e8 k5 Q" z; \2 S, F1 s  X+ P# i

, J. E, n+ _6 j5 {
回复

使用道具 举报

36

主题

1万

回帖

3789

金币

千足金牌会员

积分
50064

老会员美女勋章光影行者

发表于 2024-11-27 09:48 | 显示全部楼层
亚洲的赛事还是要多多了解一下的,感谢版主分享
回复 支持 反对

使用道具 举报

14

主题

1万

回帖

3999

金币

金牌会员

积分
31166

老会员

发表于 2024-11-27 10:16 | 显示全部楼层
亚足联的历史不是很久了,但是感觉最近几年的荣誉和我们没有什么关系的。
回复 支持 反对

使用道具 举报

21

主题

2939

回帖

2948

金币

银牌会员

积分
12376

老会员

发表于 2024-11-27 10:53 | 显示全部楼层
亚足联这历史挺有意思的,居然起源在香港,后来总部还搬去了吉隆坡。从组织架构到各种比赛,说实话确实是蛮全面的。
回复 支持 反对

使用道具 举报

3872

主题

8万

回帖

8394

金币

海燕硕士

积分
241055

万时之王老会员精华勋章勤奋勋章

发表于 2024-11-27 13:23 | 显示全部楼层
有很多东西都是之前没有关注过的在这里也可以先了解一下我觉得有些获奖的还是不错的
回复 支持 反对

使用道具 举报

3872

主题

8万

回帖

8394

金币

海燕硕士

积分
241055

万时之王老会员精华勋章勤奋勋章

发表于 2024-11-27 13:23 | 显示全部楼层
沐浴晨阳 发表于 2024-11-27 10:53$ w  r( F, s$ r
亚足联这历史挺有意思的,居然起源在香港,后来总部还搬去了吉隆坡。从组织架构到各种比赛,说实话确实是蛮 ...
: t3 J- j. d( L- M
现在总部是已经设在吉隆坡了呀,这个我还真的是不知道的呢
回复 支持 反对

使用道具 举报

3872

主题

8万

回帖

8394

金币

海燕硕士

积分
241055

万时之王老会员精华勋章勤奋勋章

发表于 2024-11-27 13:24 | 显示全部楼层
云水谣 发表于 2024-11-27 09:48
9 f1 c% p, z# `/ P' i) n亚洲的赛事还是要多多了解一下的,感谢版主分享

: U* `5 \! \1 v% O  J现在亚洲的各种赛事也是比较多的,喜欢的朋友也是可以多多的分享一下吧
回复 支持 反对

使用道具 举报

46

主题

1万

回帖

1372

金币

金牌会员

积分
24942

老会员

发表于 2024-11-27 15:06 | 显示全部楼层
亚足联刚成立的时候,还没有中国啊,这一点确实是不知道的。
回复 支持 反对

使用道具 举报

480

主题

3万

回帖

4665

金币

铂金用户

积分
84327

老会员美女勋章勤奋勋章交易勋章

发表于 2024-11-27 20:12 | 显示全部楼层
其实还真是对亚洲足球联合会没有太多的了解,涉及很多球队了
回复 支持 反对

使用道具 举报

1852

主题

6万

回帖

2384

金币

钻石用户

积分
175830

万时之王老会员勤奋勋章交易勋章

发表于 2024-11-28 06:33 来自手机 | 显示全部楼层
和XH1278 发表于 2024-11-27 10:169 e2 R+ R8 j% B, R5 C0 S
亚足联的历史不是很久了,但是感觉最近几年的荣誉和我们没有什么关系的。 ...

$ P9 s* R& E8 f' m$ V这个历史真的不是很永久,但是一直都是和我们没什么关系
回复 支持 反对

使用道具 举报

1852

主题

6万

回帖

2384

金币

钻石用户

积分
175830

万时之王老会员勤奋勋章交易勋章

发表于 2024-11-28 06:33 来自手机 | 显示全部楼层
沐浴晨阳 发表于 2024-11-27 10:530 K9 N& ]: N: t9 Z: Q: l2 k# Z$ k
亚足联这历史挺有意思的,居然起源在香港,后来总部还搬去了吉隆坡。从组织架构到各种比赛,说实话确实是蛮 ...
, a! u9 i% L8 [2 ?' x3 j
这个确实是有点意思啊,因为香港当时是很发达呗,所以才在那
回复 支持 反对

使用道具 举报

1852

主题

6万

回帖

2384

金币

钻石用户

积分
175830

万时之王老会员勤奋勋章交易勋章

发表于 2024-11-28 06:34 来自手机 | 显示全部楼层
这个还是可以了解一下的,虽然和我们没啥关系,但是也要看看
回复 支持 反对

使用道具 举报

1553

主题

8万

回帖

1万

金币

海燕硕士

积分
245432

万时之王老会员精华勋章勤奋勋章交易勋章光影行者

发表于 2024-11-28 07:04 | 显示全部楼层
这个联赛也是比较熟悉了,而且如果遇到了好的盘口是可以下注的呢
回复 支持 反对

使用道具 举报

1553

主题

8万

回帖

1万

金币

海燕硕士

积分
245432

万时之王老会员精华勋章勤奋勋章交易勋章光影行者

发表于 2024-11-28 07:04 | 显示全部楼层
左西右东 发表于 2024-11-27 13:24
8 b  m* U  e1 g3 ~7 _6 Y6 G现在亚洲的各种赛事也是比较多的,喜欢的朋友也是可以多多的分享一下吧 ...
- X# m7 l8 ?, Z: D# q* m
这个感觉确实是比较多的了呢,比赛多了也是可以多多下注的呢
回复 支持 反对

使用道具 举报

1553

主题

8万

回帖

1万

金币

海燕硕士

积分
245432

万时之王老会员精华勋章勤奋勋章交易勋章光影行者

发表于 2024-11-28 07:05 | 显示全部楼层
十里变百里 发表于 2024-11-27 15:06
8 {6 [- |& H3 s! Z; t6 ~亚足联刚成立的时候,还没有中国啊,这一点确实是不知道的。
- \2 Y1 T5 v) B, @/ ~9 R7 j
这个确实是不太清楚的事情了,还是要跟着版主学习一下的
回复 支持 反对

使用道具 举报

您需要登录后才可以回帖 登录 | 立即注册

本版积分规则

广告合作|福利汇|论坛简介|钱包教程|手机版|小黑屋|Archiver|海燕论坛

快速回复 返回顶部 返回列表