找回密码
 立即注册
澳门威尼斯人
U8
U18
海燕招商
A
蓝盾
e世博
islot.
申博亚洲
澳门银河
B
开云
腾博会
德信
C级广告商
吉祥坊
华体会
查看: 317000|回复: 108

[真人] 【实战有奖】今天在申博亚洲bbin百家乐盈利204元

[复制链接]

1934

主题

3万

回帖

4261

金币

钻石用户

积分
100540

万时之王老会员超级精华精华勋章勤奋勋章交易勋章

发表于 2025-3-20 04:01 | 显示全部楼层 |阅读模式

马上注册,结交更多好友,享用更多功能,让你轻松玩转社区。

您需要 登录 才可以下载或查看,没有账号?立即注册

×
今天在申博亚洲存款450元,依然作战bbin百家乐。
1 }/ v  \, b  s7 G' e/ T. H9 A( i% h) A1 |+ J) W2 @  D
上去就是看到一个庄连闲不连的路子,于是起注打了一手30的注码,结果黑了。6 N. B& C- M$ J$ o: P

& D' ]- S7 n, v- H+ x8 @* M闲出了两个,一般这种牌型,我是会胜进负追混合缆负追一手60打庄的,博闲不过二,但今天看了一下,觉得还是打闲稳妥一点,但注码上没敢负追,也是打了一手30的平注,结果这一手红了。前面两手就是-30+30
3 z+ R* x0 h3 x+ t' Y* A6 q0 ^( P2 i
红了之后,因为和自己平常一贯的打法等于是反打了,那就13注码干一手吧,直接上了一手90的注码,期待一击而中,奠定心理优势,可惜被神补给干掉了。6 ~; ~2 F, V  w  k
* b7 Y; y# ]! A7 A
QQ20250320-033349.jpg
6 B/ F2 w5 z( m/ K2 Q2 k- r1 L6 t% |8 k
输了这一手,有点郁闷,但也是没气馁,回到60的注码,期待赢两手,打回这条缆,结果心想事成,连续两手+60+60,打回来了。
+ Y( w' s1 L6 g+ v* S3 Z: m# I/ h
* L4 N$ x, l4 @  S QQ20250320-033528.jpg $ u" i# Y$ l  v" q+ k! G
1 d: P# c( K9 X& Z8 O4 u% z& ~
回到30基码重新起缆,+30+60又是连赢了两手,此时应该胜进90,看一下流水还差90多块,那最后一手就是打了一手100的注码,结果又是顺利拿下了。
. f; S2 o& B0 F8 M! p& u6 A0 \
+ t1 a( K1 r+ c  T QQ20250320-033750.jpg 7 ?) ~7 `0 r/ t  x

/ q  b* r* D% @4 a: y最终搞定了204元的利润,也是提款鸣金收兵了。
0 \% [) b6 {3 X- ]1 u% a5 p. M# w% N
: h% V; Q1 c" K$ N: d, s QQ20250320-033806.jpg QQ20250320-035131.jpg & e- \! ^; G* V2 J8 k! |: k

; g- l7 G5 z' @( B0 k6 z本场战斗,可谓出师不利,且输了一手较大的注码90,但之后自己不急不躁,还是稳住了,最终一波连赢,靠胜进拿下最后一手100的注码,完美实现了前面输一手90的复仇,最终搞定了204元的盈利,也是心满意足了。
2 ^7 K% X2 @( [; Q8 X# v& p( Q. _, y/ v& @
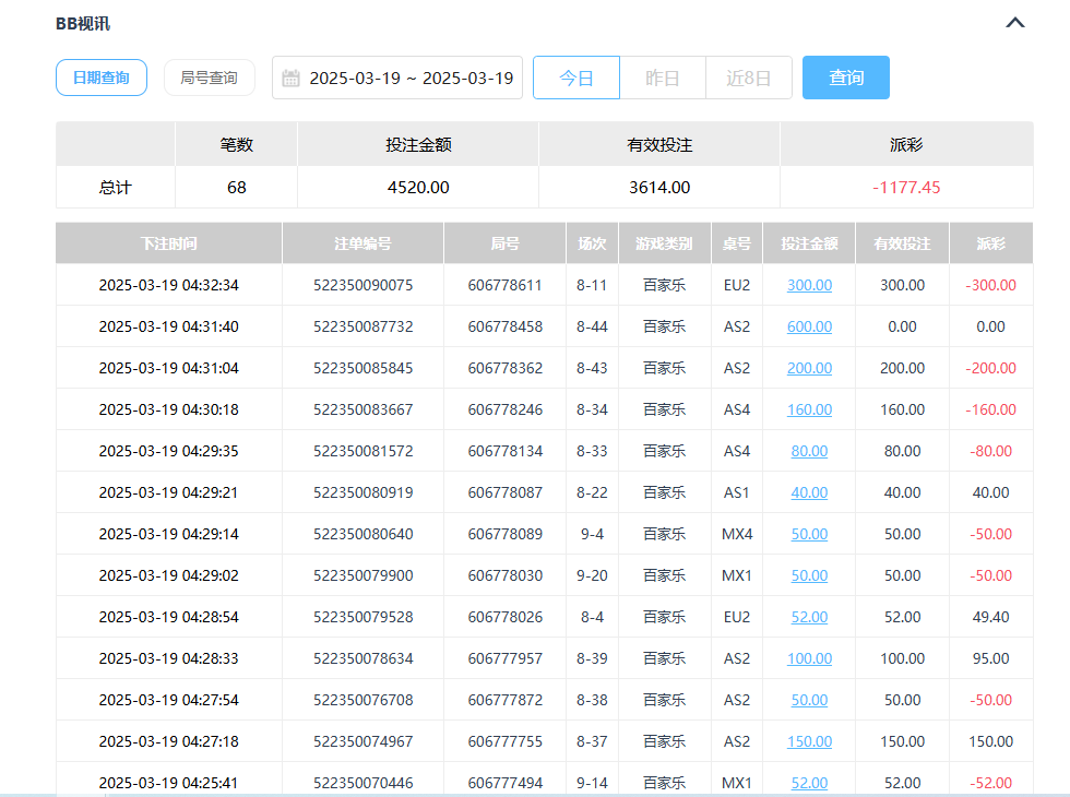
美东时间19号,昨天下午自己其实战斗开局不是很理想,第一场就是二存输了1000多止损的。* \5 T% l/ [, Y! j( Z- G# Y% _

1 z+ [3 e; Y+ \ QQ20250319-165524.jpg QQ20250319-165614.jpg
3 A# x) w! [7 h) i& K: B7 o
: k, O3 q. c( @这一场战斗胜率非常低下,净输了15手以上,止损过后,自己冷静面对,分多场,慢慢赢了点回来,到昨晚睡觉时,总战绩,当天只输了100多块。) o* E1 V6 @, c# @$ ^

% Q$ ?" Q+ v& S3 t4 [  f; b( y) Q今天睡醒了,实战发帖之所以存款450,就是想打30基码的缆(平时存款300一般只打20基码),期待这一场能实现当天的扭亏为盈,结果果然天遂人愿,这一场赢了200多,美东时间19号的战绩,已经由亏损1100多,变成了盈利几十块了。% b, W7 n2 D5 I* n# m3 O  z. s

- u3 k2 t) C& m# _: V所以,输了一场大的之后,不要急着一场两场就赢回来,可以分为多回合,慢慢打,即使打不回来,也是心态平和,止损线1500以内,无论输多少,都是可以接受,可以做好止损。这样心态平和了,胜率回来一点,扭亏为盈,也是可以水到渠成的。
9 \+ `! t: C2 j# a7 P
回复

使用道具 举报

278

主题

1万

回帖

4452

金币

金牌会员

积分
34776

老会员光影行者

发表于 2025-3-20 05:22 | 显示全部楼层
能够有这样的收益,确实是很不错的,希望以后都能够有个好的结果了。
回复 支持 反对

使用道具 举报

2391

主题

8万

回帖

4722

金币

海燕硕士

积分
220137

老会员超级精华精华勋章美女勋章勤奋勋章交易勋章万时之王

发表于 2025-3-20 07:08 | 显示全部楼层
能够赚到钱的时候也是要坚持玩下去这样才能赚到更多的一个钱
回复 支持 反对

使用道具 举报

2391

主题

8万

回帖

4722

金币

海燕硕士

积分
220137

老会员超级精华精华勋章美女勋章勤奋勋章交易勋章万时之王

发表于 2025-3-20 07:08 | 显示全部楼层
没牙的兔子 发表于 2025-3-20 05:22+ ^+ b& C* S' |0 W
能够有这样的收益,确实是很不错的,希望以后都能够有个好的结果了。
( }' r1 D8 k1 \8 Q- D  W
每天也是希望有一个好的运气出现,这样玩游戏的心情也跟着变好了
回复 支持 反对

使用道具 举报

137

主题

1万

回帖

3279

金币

金牌会员

积分
30395

老会员交易勋章光影行者

发表于 2025-3-20 08:02 | 显示全部楼层
能够盈利200多大洋,确实是很不错的,希望以后都能够有个好的结果了。
回复 支持 反对

使用道具 举报

1053

主题

2万

回帖

8569

金币

铂金用户

积分
74633

老会员交易勋章光影行者

发表于 2025-3-20 09:06 | 显示全部楼层
老哥这次玩的还是很不错的,希望老哥这样的运气是可以继续的
回复 支持 反对

使用道具 举报

1053

主题

2万

回帖

8569

金币

铂金用户

积分
74633

老会员交易勋章光影行者

发表于 2025-3-20 09:07 | 显示全部楼层
小雨点 发表于 2025-3-20 08:02" X* e- @6 h. \
能够盈利200多大洋,确实是很不错的,希望以后都能够有个好的结果了。
- z% i4 E0 V8 G
是啊,能赚到这么多钱是真的很不的,希望拿给以后都继续
回复 支持 反对

使用道具 举报

3870

主题

8万

回帖

8261

金币

海燕硕士

积分
240774

万时之王老会员精华勋章勤奋勋章

发表于 2025-3-20 10:49 | 显示全部楼层
能够收获了200多个太阳这个还是挺满足的希望后面继续发挥
回复 支持 反对

使用道具 举报

3870

主题

8万

回帖

8261

金币

海燕硕士

积分
240774

万时之王老会员精华勋章勤奋勋章

发表于 2025-3-20 10:49 | 显示全部楼层
飞舞倾城 发表于 2025-3-20 09:07; H: W- A8 P9 E1 A' W/ E
是啊,能赚到这么多钱是真的很不的,希望拿给以后都继续
) ^' @) w; Q/ H5 S6 U+ y! w0 _
轻轻松松就盈利了,真的感觉太厉害了,这也是我们不断追求的目标
回复 支持 反对

使用道具 举报

3870

主题

8万

回帖

8261

金币

海燕硕士

积分
240774

万时之王老会员精华勋章勤奋勋章

发表于 2025-3-20 10:49 | 显示全部楼层
小雨点 发表于 2025-3-20 08:02  }# ]) H$ }0 V- f) P4 m
能够盈利200多大洋,确实是很不错的,希望以后都能够有个好的结果了。

# z$ w1 g- f  J+ z+ b2 V1 `* X果然还是非常不错的一个结果200多个大洋也是挺舒服的
回复 支持 反对

使用道具 举报

3411

主题

8万

回帖

9623

金币

海燕硕士

积分
236127

万时之王老会员精华勋章勤奋勋章交易勋章光影行者

发表于 2025-3-20 14:03 | 显示全部楼层
这个只要最后能够带来这么多的盈利,也是很开心的,需要能够继续的保持这样的盈利
回复 支持 反对

使用道具 举报

3411

主题

8万

回帖

9623

金币

海燕硕士

积分
236127

万时之王老会员精华勋章勤奋勋章交易勋章光影行者

发表于 2025-3-20 14:03 | 显示全部楼层
左西右东 发表于 2025-3-20 10:49
- y. e3 X3 |" y4 {( [' z果然还是非常不错的一个结果200多个大洋也是挺舒服的

( Q* V6 ]8 C; g; a不管怎么说,我们玩游戏都还是希望能够有一个好的结果就好了
回复 支持 反对

使用道具 举报

3411

主题

8万

回帖

9623

金币

海燕硕士

积分
236127

万时之王老会员精华勋章勤奋勋章交易勋章光影行者

发表于 2025-3-20 14:03 | 显示全部楼层
左西右东 发表于 2025-3-20 10:49* {7 y3 i& C8 e  e
轻轻松松就盈利了,真的感觉太厉害了,这也是我们不断追求的目标
3 [6 }" C; H- P1 z( Z# ^+ h0 f
看别人赚钱就是这么轻松的,自己去玩的时候未必那么顺利啊
回复 支持 反对

使用道具 举报

3411

主题

8万

回帖

9623

金币

海燕硕士

积分
236127

万时之王老会员精华勋章勤奋勋章交易勋章光影行者

发表于 2025-3-20 14:03 | 显示全部楼层
左西右东 发表于 2025-3-20 10:49
: T. j8 C, \, ]* h: H( I- t* J能够收获了200多个太阳这个还是挺满足的希望后面继续发挥
1 ~, C' X" B- K' G* P
其实这个有那么多的收获,已经非常的好了,相当于能够有一天的工资就好
回复 支持 反对

使用道具 举报

197

主题

6859

回帖

148

金币

银牌会员

积分
13995

老会员交易勋章

发表于 2025-3-20 16:22 | 显示全部楼层

/ U% g) X8 X" L4 d" q7 q赢得漂亮,这就是你的实力不可否认,可以在期待一下更好的下一波了
回复 支持 反对

使用道具 举报

您需要登录后才可以回帖 登录 | 立即注册

本版积分规则

广告合作|福利汇|论坛简介|钱包教程|手机版|小黑屋|Archiver|海燕论坛

快速回复 返回顶部 返回列表