找回密码
 立即注册
澳门威尼斯人
U8
U18
海燕招商
A
蓝盾
e世博
islot.
申博亚洲
澳门银河
B
开云
腾博会
德信
C级广告商
吉祥坊
华体会
查看: 29924|回复: 63

[彩票] 【实战有奖】澳门威尼斯人 9月22日台彩宾果5单连打,千元资金小亏78元

[复制链接]

52

主题

2万

回帖

3293

金币

铂金用户

积分
70513

老会员光影行者

发表于 2025-9-22 16:31 | 显示全部楼层 |阅读模式

马上注册,结交更多好友,享用更多功能,让你轻松玩转社区。

您需要 登录 才可以下载或查看,没有账号?立即注册

×
资金往来和投注流水都放出来,输赢数据一清二楚。虽说整体亏损不大,但过程曲折,值得写个复盘总结,也方便坛友们交流经验。

- v8 e0 g3 V3 C- s/ I4 Z/ A
一、资金进出明细
" t; Q- L) r3 h! t7 \  k9 i
从账户明细图上可以看到,今天资金主要在 大厅与BBIN彩票 之间来回切换:
3 @3 F# Q  o! }, v# x+ r" n: P# z
15:50:从大厅转出 1050.15元 到 BBIN 彩票账户。

. U: ~2 O& j1 d% ?$ M) O
16:23:BBIN 彩票结算后转回大厅 972.15元。

7 W! C# L9 ?/ c" U
换句话说,我拿出1050元作为实战本金,经过一轮下注后,最终回到大厅的资金是972元,整体小亏78元。
  ^1 p$ g, ]5 G4 [. N5 n
二、投注记录回顾

6 v. w0 l$ r5 n9 P" a
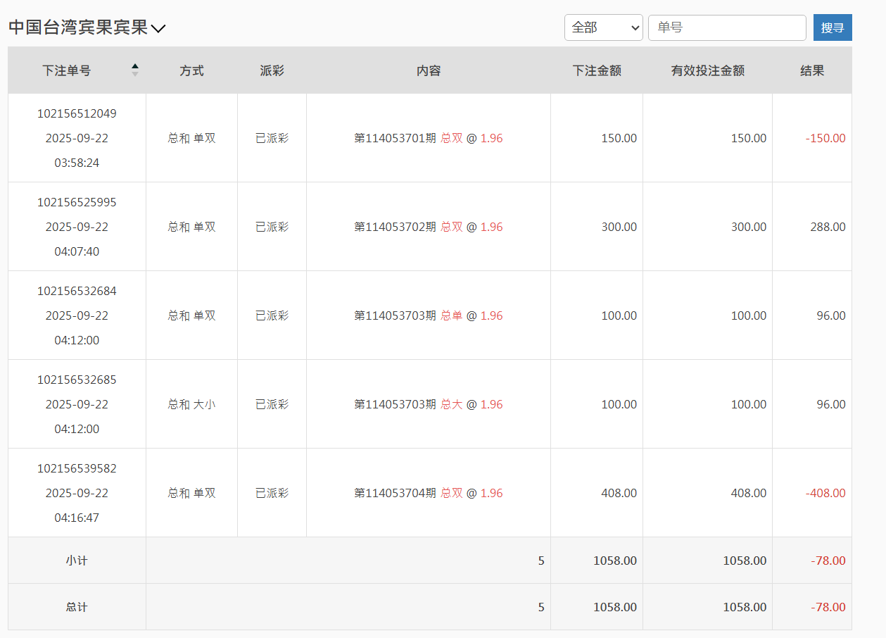
下注明细主要集中在 中国台湾宾果 的单双、大小玩法。时间段是凌晨 3:58 到 4:16,共下了 5 单,总投入 1058 元。

8 |6 I# a/ q. g9 S: ^; F" Y6 R1 \
具体如下:

! r$ @$ d; L& e, E
第114053701期 总双 @1.96
投注150元,结果亏损,-150元。
' F3 W% @9 c3 ~7 G! h/ b0 r, W, x
第114053702期 总双 @1.96
投注300元,中奖派彩288元,等于小赚-12元(实际上赔率稍有差异)。

9 y" O) m7 G0 A; H# W
第114053703期 总单 @1.96
投注100元,派彩96元,小赚-4元。
+ K8 r4 |" c* ~) T+ a7 ^
第114053703期 总大 @1.96
投注100元,派彩96元,同样微亏4元。

" c( l% ]9 D7 G4 R/ |7 ?
第114053704期 总双 @1.96
投注408元,结果失利,-408元。

; U9 l+ H8 Z: [/ a: e/ _& M5 P
小结:
7 _  s2 p. [: z" ?
总下注额 1058元

# Y! |/ w% t3 ?0 }: l
总结果 -78元

4 k& d" w. _) W+ W& ~7 K
有效投注 1058元
# W7 P, p/ z! Z! j' W
虽然看似金额不大,但起伏明显,尤其最后一单408元的重注,直接把前面几手的努力全部打掉。
; W; c3 z/ Q, Q& q) M
三、实战中的问题

+ j& E6 Z! m' u  @
开局方向不稳
第一手就150元押“双”,结果直接亏,导致后续心态偏急。
; x8 x- G! r. u% |( w9 E/ z
加注策略混乱
第五手突然加到408元,这其实就是想一把翻本,结果正好遇上失利,亏损被放大。

- v; [- y6 N* F+ h3 B1 d
赔率差异小
宾果的单双/大小,赔率都在1.96上下,长期拼下来很容易被水钱吃掉。今天虽然有几单“中”,但派彩比下注额略低,看起来是赢,其实也是亏。
3 `. y. v0 X" ?, G) y- c5 ~1 b$ W. O2 i, e
四、经验总结
$ G, k$ v4 m8 D6 r$ q! ^
不要冲动加注
今天最致命的就是最后一手408元。前面都是百元级别,突然放大到四百,结果输了直接吃掉全部利润,得不偿失。

, c3 A% o8 X. H: z# T) O
合理规划资金
1050元本金,本可以拆分成十几手小注慢慢打,把波动摊平。但因为急于回血,结果越陷越深。
1 e' J6 t+ ^4 I5 f) u5 P5 Y
赔率细节要注意
1.96看似接近2,其实长期下来是巨大的差别。如果打法不精准,边际损失会被放大。

  r- o! ?& f5 X% c1 _5 P
控制节奏
今天的下注时间都集中在20分钟内,连下5手,几乎没停顿。其实完全可以隔几期观察走势,而不是短时间硬刚。

. t, ?/ G7 U5 b; m
五、结语

% K$ Q5 n5 k# {0 P, L; O
这次实战虽然只亏了78元,但过程暴露了很多问题:冲动、乱加注、没设止损。要不是最后一手重注失利,今天其实还能保本。
; {( N& d! O0 Q; j$ a# p
以后计划改进打法:
  T4 B$ ^& t; E: V7 Z7 y0 j3 w
每手控制在100-200元,不随意放大;

9 @; }6 c' Z9 ]$ j. Z4 Z6 n. ?
设置止损点,比如亏损超过300元就收手;

* N0 u; k* _4 p7 M  _/ A* J! T
拉长观察时间,不必每期都上。
0 l4 C' e7 L, d0 }9 b
兄弟们,你们在玩台湾宾果的时候,一般是倍投翻身,还是小注慢磨?欢迎在楼下交流思路,互相借鉴下经验。
QQ20250922-162509.png QQ20250922-162336.png
* H- O' Q" {, S
回复

使用道具 举报

31

主题

6660

回帖

2295

金币

金牌会员

积分
23651

老会员光影行者

发表于 2025-9-22 16:54 | 显示全部楼层
运气很一般呀,大注码没有中奖成功,确实非常可惜的
回复 支持 反对

使用道具 举报

374

主题

1559

回帖

6964

金币

银牌会员

积分
18134

老会员交易勋章

发表于 2025-9-22 22:03 | 显示全部楼层
好在输的不多 慢慢积累经验 争取一次赢个大的啊!
回复 支持 反对

使用道具 举报

62

主题

4万

回帖

720

金币

钻石用户

积分
122198

万时之王老会员勤奋勋章交易勋章光影行者

发表于 2025-9-23 06:41 | 显示全部楼层
遗憾的结果了,也是没有办法了,亏损了一天的 伙食费也是很无奈的了难搞的!
回复 支持 反对

使用道具 举报

62

主题

4万

回帖

720

金币

钻石用户

积分
122198

万时之王老会员勤奋勋章交易勋章光影行者

发表于 2025-9-23 06:41 | 显示全部楼层
sq1188 发表于 2025-9-22 22:034 Q' C6 ^/ s" A9 X! C) J
好在输的不多 慢慢积累经验 争取一次赢个大的啊!

0 {, F" E" \0 @, {3 Z7 u; h确实是,慢慢的来,总会有盈利的时候了,一定要好好的把握一下加油多赚钱吧!
回复 支持 反对

使用道具 举报

62

主题

4万

回帖

720

金币

钻石用户

积分
122198

万时之王老会员勤奋勋章交易勋章光影行者

发表于 2025-9-23 06:41 | 显示全部楼层
决战夕阳 发表于 2025-9-22 16:543 O$ m/ u2 u5 [/ K/ L4 ^3 `
运气很一般呀,大注码没有中奖成功,确实非常可惜的

: B4 l3 g/ E# x5 B9 a6 D确实是可惜了 ,也是没有办法了,所以太需要有个好运气的啊!
回复 支持 反对

使用道具 举报

1852

主题

6万

回帖

2338

金币

钻石用户

积分
175669

万时之王老会员勤奋勋章交易勋章

发表于 2025-9-23 07:25 | 显示全部楼层
决战夕阳 发表于 2025-9-22 16:54
* c' ?& ~& @5 y" m% G运气很一般呀,大注码没有中奖成功,确实非常可惜的

1 G1 I; J$ g6 i6 J% {这个结果是真的比较可惜的希望下一次是能够赢回来的吧
' }" Y- j2 z* q/ m$ Y
回复 支持 反对

使用道具 举报

1852

主题

6万

回帖

2338

金币

钻石用户

积分
175669

万时之王老会员勤奋勋章交易勋章

发表于 2025-9-23 07:25 | 显示全部楼层
奔四 发表于 2025-9-23 06:41
! l* ^- B, @. m. U; {确实是可惜了 ,也是没有办法了,所以太需要有个好运气的啊!
6 z8 U7 I  W: k- I! R# l2 I
这个没有运气当然是不行的了运气不好一点办法都没有) k# [0 ^; }6 s$ T
回复 支持 反对

使用道具 举报

1852

主题

6万

回帖

2338

金币

钻石用户

积分
175669

万时之王老会员勤奋勋章交易勋章

发表于 2025-9-23 07:25 | 显示全部楼层
这样的损失也是真的比较遗憾的希望下次能够打回来吧
2 ]. l! d" t' H) O4 {" }
回复 支持 1 反对 0

使用道具 举报

2385

主题

8万

回帖

6148

金币

海燕硕士

积分
222494

老会员超级精华精华勋章美女勋章勤奋勋章交易勋章万时之王

发表于 2025-9-23 07:27 | 显示全部楼层
亏损了几十块钱也是因为运气不好我也能理解你的心情
回复 支持 反对

使用道具 举报

2385

主题

8万

回帖

6148

金币

海燕硕士

积分
222494

老会员超级精华精华勋章美女勋章勤奋勋章交易勋章万时之王

发表于 2025-9-23 07:28 | 显示全部楼层
yb454553 发表于 2025-9-23 07:25
7 B; U" q$ b: [, v$ {. H, P这样的损失也是真的比较遗憾的希望下次能够打回来吧
" A+ ]+ H  v" V" D% L" K
这个损失已经出现了,也是自己的一个原因,不好玩的呀
回复 支持 反对

使用道具 举报

2385

主题

8万

回帖

6148

金币

海燕硕士

积分
222494

老会员超级精华精华勋章美女勋章勤奋勋章交易勋章万时之王

发表于 2025-9-23 07:28 | 显示全部楼层
yb454553 发表于 2025-9-23 07:25
% T& `: ^  `0 [' P  |& n: }这个没有运气当然是不行的了运气不好一点办法都没有

" k& j( n3 \: C: B* W# ~) d2 d运气不行就不要玩,不然亏损的也是自己吧
回复 支持 反对

使用道具 举报

2385

主题

8万

回帖

6148

金币

海燕硕士

积分
222494

老会员超级精华精华勋章美女勋章勤奋勋章交易勋章万时之王

发表于 2025-9-23 07:28 | 显示全部楼层
奔四 发表于 2025-9-23 06:41
- ^5 l; k5 C! W" Y3 x2 d确实是可惜了 ,也是没有办法了,所以太需要有个好运气的啊!

' R6 ?* q, L" w这样子可惜的话就不要玩了,输的多了也是难受
回复 支持 反对

使用道具 举报

2385

主题

8万

回帖

6148

金币

海燕硕士

积分
222494

老会员超级精华精华勋章美女勋章勤奋勋章交易勋章万时之王

发表于 2025-9-23 07:28 | 显示全部楼层
奔四 发表于 2025-9-23 06:41
! f) N1 |6 J  A# d, v" i; J确实是,慢慢的来,总会有盈利的时候了,一定要好好的把握一下加油多赚钱吧!  ...
# b" k$ e3 w* w: }3 S8 W, D
问题是不知道什么时候盈利,也只是自己的一个猜测
回复 支持 反对

使用道具 举报

2385

主题

8万

回帖

6148

金币

海燕硕士

积分
222494

老会员超级精华精华勋章美女勋章勤奋勋章交易勋章万时之王

发表于 2025-9-23 07:28 | 显示全部楼层
sq1188 发表于 2025-9-22 22:03
. e" l5 y" N' \, r6 H7 N+ |) T, U好在输的不多 慢慢积累经验 争取一次赢个大的啊!

/ h- n9 X8 i$ ]) K; S" L输的不多,就当是一个教训吧,每次我还是小心一点
回复 支持 1 反对 0

使用道具 举报

您需要登录后才可以回帖 登录 | 立即注册

本版积分规则

广告合作|福利汇|论坛简介|钱包教程|手机版|小黑屋|Archiver|海燕论坛

快速回复 返回顶部 返回列表