找回密码
 立即注册
澳门威尼斯人
U8
U18
海燕招商
A
蓝盾
e世博
islot.
申博亚洲
澳门银河
B
开云
腾博会
德信
C级广告商
吉祥坊
华体会
查看: 26071|回复: 74

[彩票] 【实战有奖】威尼斯人台湾宾果连挂后稳收,亏损2450止步

[复制链接]

87

主题

2万

回帖

3694

金币

千足金牌会员

积分
68561

老会员交易勋章魅力达人

发表于 2025-10-6 16:17 | 显示全部楼层 |阅读模式

马上注册,结交更多好友,享用更多功能,让你轻松玩转社区。

您需要 登录 才可以下载或查看,没有账号?立即注册

×
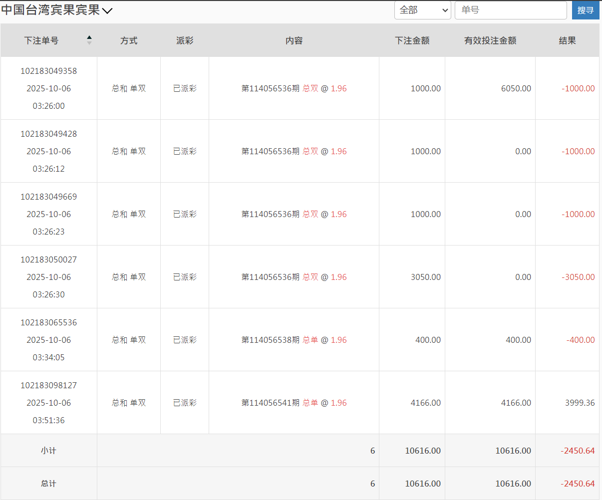
今天下午打了台湾宾果这一轮,整体过程挺曲折,但也算控制住了节奏。大概从下午三点左右开始进场,当时看走势总和“双”连开几期,手痒了,于是轻仓试单。原本打算随便玩玩,结果越看越不对劲,单双频繁切换,让人有点摸不清节奏。
1 {  q) A" |( j1 \0 c0 ?8 J, A) s7 |  P: U3 ^0 k- i
这轮总共下了六单,前几把基本都在试探走势。结果连续几期都反着来,尤其是那笔3050的“总双”,被直接吃掉,账面一口气红到三千多。那一瞬间心态确实有点晃,手差点又去补仓。后来想到之前吃亏的经验,强行让自己停手,看完那期结果就去洗了个脸。+ J  C) E! @: o( m* Q9 G
+ K( e0 v9 I. a! O9 [6 U! e
回来后重新看走势图,发现节奏有点回稳,于是再上两把“总单”试水。最后一单我加到4166,打的第114056541期,终于中回来了3999.36,这口气算是稳了。整盘下来,亏了2450左右,折合人民币不到两千。8 v" g/ g% Z7 N$ G* E

6 |, S; G& o* N5 t- ]账面上虽然是负的,但我个人觉得这轮打得比前几次更“成熟”——不是赢多少的问题,而是我终于没再乱追。这次BBIN那边转入了10616,转出回大厅时剩8165,虽然账面亏损,但过程有节制、心态稳,算是一次小考合格。
$ Q0 N& R9 X! _5 b! y4 E  o" W+ t1 S) V, I( W/ v4 [" W
过去我常常一看挂单就想加码“赢回来”,结果反而输更惨。现在我学会了一件事:赢钱靠机会,止损靠自律。只要不被情绪带走,长期来看反而能少损多赢。
) K7 C& u9 b7 N/ J1 K, I
# o+ @9 ~/ r# ]& ?# R- F另外,这轮台湾宾果的走势挺诡异的,总和单双跳得快,没有出现连续7期以上的连号。下午那段时间尤其乱,建议后面玩这盘口的兄弟们注意节奏,不要被短线结果误导。可以像我这样——前几期用小注探路,等走势方向稳定后再加码。1 x8 m" g* y/ m! o6 v- G

; N' m8 H* s' e. s& F+ j这次我还特地看了下注明细,总金额10616,有效投注全打满,亏损-2450.64。虽然是红的,但我反而挺高兴,因为这说明我守住了底线:没追加、没爆仓。
5 f; g- O& j/ B" m3 _, ?/ V9 Z, x( Y1 r* x' N) Y4 |
最后总结一句:. I& p- e' N( q& g- @  L1 p
输钱不可怕,乱输才可怕;稳得住,才是真正的赢。! ?+ s8 I( e0 t6 Y# Y$ V( D( I  ~

! C  g! w" E7 j, }9 }" S这两天论坛不少人也在分享台湾盘的节奏,我的经验是——宁可打慢,也不要乱节奏。未来几天我会继续观察走势,等连号或规律性区间出来,再考虑加仓。今天就到这,休息一会,晚上再看情况。
' }5 }7 {$ Y6 W) N
$ P- q4 ]1 T: {8 j8 J/ S QQ20251006-160203.png QQ20251006-160102.png
6 R# M# J) B" V9 o5 @6 O# q; M. R) A1 H: g
$ t. D! d) f. b+ \# l9 [7 Q! o7 Z6 S% k
回复

使用道具 举报

1

主题

4994

回帖

4198

金币

金牌会员

积分
23389

老会员

发表于 2025-10-6 16:22 | 显示全部楼层
楼主亏损了还是要止损,回血了一大半还是挺不错了
回复 支持 反对

使用道具 举报

197

主题

6859

回帖

148

金币

银牌会员

积分
13995

老会员交易勋章

发表于 2025-10-6 17:56 | 显示全部楼层
你还玩这个啊,我是真没玩过这类彩票,是彩票没错吧,止损做到位就好
回复 支持 反对

使用道具 举报

7

主题

1万

回帖

7869

金币

铂金用户

积分
70216

光影行者

发表于 2025-10-6 19:37 | 显示全部楼层
3050那把真够呛,能忍住不补仓已经赢一半,节奏乱时洗脸是个好招
回复 支持 反对

使用道具 举报

3400

主题

4万

回帖

4115

金币

钻石用户

积分
116711

万时之王老会员勤奋勋章交易勋章

发表于 2025-10-6 19:48 | 显示全部楼层
老哥还是低调点吧, 亏损2450, 也是输太多了, 还是要及时收手,真不敢继续了
回复 支持 反对

使用道具 举报

3400

主题

4万

回帖

4115

金币

钻石用户

积分
116711

万时之王老会员勤奋勋章交易勋章

发表于 2025-10-6 19:49 | 显示全部楼层
蔬菜沙拉 发表于 2025-10-6 19:37- L' y! [0 J2 h4 ~8 ^) N. M3 P
3050那把真够呛,能忍住不补仓已经赢一半,节奏乱时洗脸是个好招
1 Y' ^8 w% F' Q! Y- ]
玩菠菜还是量力而行吧, 别玩太大了, 输太多了, 也是很影响心情了。
回复 支持 反对

使用道具 举报

3400

主题

4万

回帖

4115

金币

钻石用户

积分
116711

万时之王老会员勤奋勋章交易勋章

发表于 2025-10-6 19:49 | 显示全部楼层
二电厂哥 发表于 2025-10-6 17:561 A' O. ~: ~3 q7 R& S7 O2 W
你还玩这个啊,我是真没玩过这类彩票,是彩票没错吧,止损做到位就好

4 N% W' ^+ a/ B# C' Z2 N+ l  a亏损了2450也是输太多了, 这钱能干很多事的了啊, 也是很遗憾了。
回复 支持 反对

使用道具 举报

3400

主题

4万

回帖

4115

金币

钻石用户

积分
116711

万时之王老会员勤奋勋章交易勋章

发表于 2025-10-6 19:50 | 显示全部楼层
shunlifeiup 发表于 2025-10-6 16:22
8 X+ N: ?0 i* }2 T4 l9 y% I楼主亏损了还是要止损,回血了一大半还是挺不错了

: z0 ?# m! @4 H6 A7 S1 C2 f损失惨重了呀, 输了这么多, 想回血都是很困难了啊, 还是休息冷静一下吧。
回复 支持 反对

使用道具 举报

374

主题

1559

回帖

6964

金币

银牌会员

积分
18134

老会员交易勋章

发表于 2025-10-6 21:07 | 显示全部楼层
能够及时做到止损啊 还是很不容易的   及时调整吧!
回复 支持 反对

使用道具 举报

52

主题

2万

回帖

3293

金币

铂金用户

积分
70513

老会员光影行者

发表于 2025-10-7 02:34 | 显示全部楼层
别急着追,理性把握,稳住节奏,总会有赚钱的时候,节制至关重要
回复 支持 反对

使用道具 举报

52

主题

2万

回帖

3293

金币

铂金用户

积分
70513

老会员光影行者

发表于 2025-10-7 02:34 | 显示全部楼层
蔬菜沙拉 发表于 2025-10-6 19:37
6 m, ]& ^; H/ i; J3050那把真够呛,能忍住不补仓已经赢一半,节奏乱时洗脸是个好招

# G4 z2 f2 H5 J8 Y( R* R) h3050那把确实有点狼狈,不过威尼斯人台湾宾果稳住节奏,亏损2450也算是及时止损
回复 支持 反对

使用道具 举报

2385

主题

8万

回帖

6148

金币

海燕硕士

积分
222494

老会员超级精华精华勋章美女勋章勤奋勋章交易勋章万时之王

发表于 2025-10-7 05:46 | 显示全部楼层
输掉了2000多块能够止损离开也是比较理智的一个人吧
回复 支持 反对

使用道具 举报

2385

主题

8万

回帖

6148

金币

海燕硕士

积分
222494

老会员超级精华精华勋章美女勋章勤奋勋章交易勋章万时之王

发表于 2025-10-7 05:46 | 显示全部楼层
whywhy 发表于 2025-10-7 02:34
1 Q) C6 {4 W) Q% X7 B- v: J3050那把确实有点狼狈,不过威尼斯人台湾宾果稳住节奏,亏损2450也算是及时止损 ...

( o, ?* e" D, w9 {3 d. Y反正自己的节奏要把握好,不然输的就是自己的钱
回复 支持 反对

使用道具 举报

2385

主题

8万

回帖

6148

金币

海燕硕士

积分
222494

老会员超级精华精华勋章美女勋章勤奋勋章交易勋章万时之王

发表于 2025-10-7 05:46 | 显示全部楼层
whywhy 发表于 2025-10-7 02:34
$ P( v6 r( m0 |+ S8 [" w别急着追,理性把握,稳住节奏,总会有赚钱的时候,节制至关重要
2 o* S8 a3 G% _  w! D  \" [
这个节奏导致的亏损也是没有办法的事,毕竟输了这么多
回复 支持 反对

使用道具 举报

2385

主题

8万

回帖

6148

金币

海燕硕士

积分
222494

老会员超级精华精华勋章美女勋章勤奋勋章交易勋章万时之王

发表于 2025-10-7 05:46 | 显示全部楼层
莫扎特06 发表于 2025-10-6 19:49
" h2 W( O$ T* X5 z亏损了2450也是输太多了, 这钱能干很多事的了啊, 也是很遗憾了。

0 s8 N  K' L& c( B1 r- A输的太多也是要想办法把它搞回来,不然也是难受
回复 支持 反对

使用道具 举报

您需要登录后才可以回帖 登录 | 立即注册

本版积分规则

广告合作|福利汇|论坛简介|钱包教程|手机版|小黑屋|Archiver|海燕论坛

快速回复 返回顶部 返回列表