找回密码
 立即注册
澳门威尼斯人
U8
U18
海燕招商
A
蓝盾
e世博
islot.
申博亚洲
澳门银河
B
腾博会
德信
C级广告商
吉祥坊
查看: 689|回复: 64

[彩票] 晚上的彩票游戏节奏保持的稳定收500多块钱

[复制链接]

79

主题

2796

回帖

828

金币

铜牌用户

积分
8821

老会员

发表于 2026-4-20 02:52 | 显示全部楼层 |阅读模式

马上注册,结交更多好友,享用更多功能,让你轻松玩转社区。

您需要 登录 才可以下载或查看,没有账号?立即注册

×
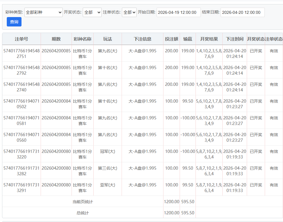
更多还是需要自己的游戏策略才有稳定的机会进一步收米,这段时间都是坚持三定位两面玩法,结果4月份一共收米了2000多。
8 u( H) x* r) I& R2 a+ \& `3 K- {$ o) [4 @. D4 T- k$ j4 Z
, T: h; m- k5 Z8 V1 v
6.jpg
) Z# g* i- D" E: C" @/ E# l 1.jpg
* w" [+ k" L1 K: R1 ^7 A0 n

评分

参与人数 1金币 +8 收起 理由
海燕RG + 8 实战分享

查看全部评分

回复

使用道具 举报

6

主题

4778

回帖

3413

金币

金牌会员

积分
20954
发表于 2026-4-20 06:14 | 显示全部楼层
三定位两面玩法坚持下来居然收两千多,晚上还稳定拿五百多,看来选对路子加稳扎稳打才靠谱,这节奏可以啊
回复 支持 反对

使用道具 举报

8

主题

1万

回帖

5784

金币

千足金牌会员

积分
61199

老会员光影行者

发表于 2026-4-20 06:21 | 显示全部楼层
保持策略确实重要,三定位两面玩法的确能稳定不少,这四月份的战绩真不错
回复 支持 反对

使用道具 举报

2563

主题

8万

回帖

2319

金币

海燕硕士

积分
226621

老会员超级精华精华勋章美女勋章勤奋勋章交易勋章万时之王

发表于 2026-4-20 07:43 | 显示全部楼层
有一个好的节奏确实是可以赚到钱的呀
回复 支持 反对

使用道具 举报

2563

主题

8万

回帖

2319

金币

海燕硕士

积分
226621

老会员超级精华精华勋章美女勋章勤奋勋章交易勋章万时之王

发表于 2026-4-20 07:43 | 显示全部楼层
bai 发表于 2026-4-20 06:21
6 i) a" Y! W# {4 K% R保持策略确实重要,三定位两面玩法的确能稳定不少,这四月份的战绩真不错 ...
4 u5 X" s& W5 @& p( y& e
保持这样的重要性也是不容易的事情
回复 支持 反对

使用道具 举报

53

主题

2万

回帖

1万

金币

钻石用户

积分
100755

老会员光影行者

发表于 2026-4-20 08:57 | 显示全部楼层
三定位两面能坚持下来确实不容易,四月两千多的收获也说明策略执行到位了
回复 支持 反对

使用道具 举报

53

主题

2万

回帖

1万

金币

钻石用户

积分
100755

老会员光影行者

发表于 2026-4-20 08:57 | 显示全部楼层
杨雪儿 发表于 2026-4-20 07:431 b. W  l; L5 r7 |
有一个好的节奏确实是可以赚到钱的呀
/ x) g+ U( R' W% {6 o* W
节奏稳了心态就稳,盈利自然跟着来,这状态保持得真不错
回复 支持 反对

使用道具 举报

53

主题

2万

回帖

1万

金币

钻石用户

积分
100755

老会员光影行者

发表于 2026-4-20 08:58 | 显示全部楼层
杨雪儿 发表于 2026-4-20 07:43  n, U+ _9 k* U/ [, e7 y3 T& `* V
保持这样的重要性也是不容易的事情

/ u# f$ Y! v; @能稳住节奏确实关键,这五百多块的收获就是耐心最好的回报了
回复 支持 反对

使用道具 举报

8

主题

8621

回帖

1万

金币

千足金牌会员

积分
47423
发表于 2026-4-20 09:03 | 显示全部楼层
可以收米这么多钱也是非常厉害的了
回复 支持 反对

使用道具 举报

8

主题

8621

回帖

1万

金币

千足金牌会员

积分
47423
发表于 2026-4-20 09:03 | 显示全部楼层
杨雪儿 发表于 2026-4-20 07:43
# G' Q- m5 h% Z& A) Y# |' a有一个好的节奏确实是可以赚到钱的呀

8 ~0 X5 |" C' P2 |: _" {大家都是希望可以能够每天都有好节奏赚钱的
回复 支持 反对

使用道具 举报

8

主题

8621

回帖

1万

金币

千足金牌会员

积分
47423
发表于 2026-4-20 09:03 | 显示全部楼层
杨雪儿 发表于 2026-4-20 07:43, ]' P2 f7 d( @4 r- C: g2 p
保持这样的重要性也是不容易的事情
/ n" d) |* D- Y1 O! m7 |
这个确实是非常不容易的事情了
回复 支持 反对

使用道具 举报

11

主题

6973

回帖

8658

金币

金牌会员

积分
38072
发表于 2026-4-20 12:32 | 显示全部楼层
这样的收入也是会非常高兴的了
回复 支持 反对

使用道具 举报

11

主题

6973

回帖

8658

金币

金牌会员

积分
38072
发表于 2026-4-20 12:32 | 显示全部楼层
山区奥特曼 发表于 2026-4-20 09:03
" n  @3 _7 f9 G/ X6 l# ]大家都是希望可以能够每天都有好节奏赚钱的

9 \; Q& S8 ]: d$ n3 F* p如果能够每天都会有好节奏就更爽的了
回复 支持 反对

使用道具 举报

11

主题

6973

回帖

8658

金币

金牌会员

积分
38072
发表于 2026-4-20 12:32 | 显示全部楼层
山区奥特曼 发表于 2026-4-20 09:03: M$ O. I$ i4 r/ `8 i
这个确实是非常不容易的事情了

! d, l; ?& g0 F2 ?  S+ T6 _, @确实是非常不容易的事情了呢
回复 支持 反对

使用道具 举报

3

主题

5275

回帖

4044

金币

金牌会员

积分
23475
发表于 2026-4-20 12:57 | 显示全部楼层
这三定位两面的玩法挺扎实,4月进账两千多,全靠自家琢磨的策略,比瞎撞靠谱多了
回复 支持 反对

使用道具 举报

您需要登录后才可以回帖 登录 | 立即注册

本版积分规则

广告合作|福利汇|论坛简介|钱包教程|手机版|小黑屋|Archiver|海燕论坛

快速回复 返回顶部 返回列表